1.1 安全帽的試驗項目、周期和要求見表1
表1 安全帽的試驗項目、周期和要求
|
序號 |
項目 |
周期 |
要 求 |
說 明 |
|
1 |
沖擊性能試驗 |
按規定期限 |
沖擊力小于4900N |
制造之日起,柳條帽≤2年,塑料帽≤2.5年,玻璃鋼帽≤3.5年 |
|
2 |
耐穿刺性能試驗 |
按規定期限 |
鋼錐不接觸頭模面 |
1.2 試驗方法
安全帽的使用期,從產品制造完成之日計算,根據表1的規定,使用期滿后,要進行抽查測試合格后方可繼續使用,抽檢時,每批從最嚴酷使用場合中抽取,每項試驗,試樣不少于2頂,以后每年抽檢一次,有一頂不合格則該批安全帽報廢。
1.2.1 沖擊性能試驗
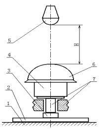
沖擊吸收性能試驗示意圖見圖2所示,基座由不小于500kg 的混凝土座構成。將頭模、力傳感器裝置及底座垂直安放在基座上,力傳感器裝置安裝在頭模與底座之間,帽襯調至適當位置后將一頂完好的安全帽,戴到頭模上,鋼錘從1m高度(錘的底面至安全帽頂的距離)自由導向落下沖擊安全帽。鋼錘重心運動軌跡應與頭模中心線和傳感器敏感軸重合。通過記錄顯示儀器測出頭模所受的力。如記錄到的沖擊力小于4900N,則試驗通過。
圖2 沖擊吸收性能試驗示意圖(采用壓電式力傳感器)

1─混凝土基座;2─底座;3─壓電式傳感器;4─頭模;5─鋼錘;6─安全帽;7─力傳感器配套裝置;H─沖擊距離
1.2.2 耐穿刺性能試驗
耐穿刺性能試驗示意圖見圖3所示,將一頂完好的安全帽安放在頭模上,安全帽襯墊與頭模之間放置電接觸顯示裝置的一個電極,該電極由銅片或鋁片制成,如鋼錐與該電極相接觸,可形成一個電閉合回路。電接觸顯示裝置會有指示。用3kg的鋼錐從lm高度自由或導向下落穿刺安全帽,鋼錐著帽點應在帽頂中心ф100mm范圍內的薄弱部分,穿刺后觀察電接觸顯示裝置,如無顯示,則試驗通過。

1─鋼錐 2─安全帽 3─頭模 H─沖擊距離
信息整理:m.suoruo.cn
設為首頁 | 加入收藏 | 聯系我們 揚州拓普電氣科技有限公司版權所有 Copyright © 2010-2021
蘇ICP備10068214號-2
蘇公網安備32102302010144號 技術支持:平邑在線